Depolveratori industriali
Feel the clean side of it
Per tutte le aziende che cercano una pulizia precisa, professionale ed efficiente delle superfici dei loro prodotti, i sistemi di pulizia delle superfici Simoni sono più performanti e affidabili rispetto ad altre marche, perché utilizzano in combinazione tutte le migliori diverse tecnologie all’interno della stessa macchina di pulizia, che è fatta su misura per le esigenze specifiche del cliente, e sono progettati e prodotti secondo gli storici standard qualitativi Simoni.
Depolveratori industriali
Feel the clean side of it.
Per tutte le aziende che cercano una pulizia precisa, professionale ed efficiente delle superfici dei loro prodotti, i sistemi di pulizia delle superfici Simoni sono più performanti e affidabili rispetto ad altre marche, perché utilizzano in combinazione tutte le migliori diverse tecnologie all’interno della stessa macchina di pulizia, che è fatta su misura per le esigenze specifiche del cliente, e sono progettati e prodotti secondo gli storici standard qualitativi Simoni.
Specifiche dei depolveratori industirali Simoni
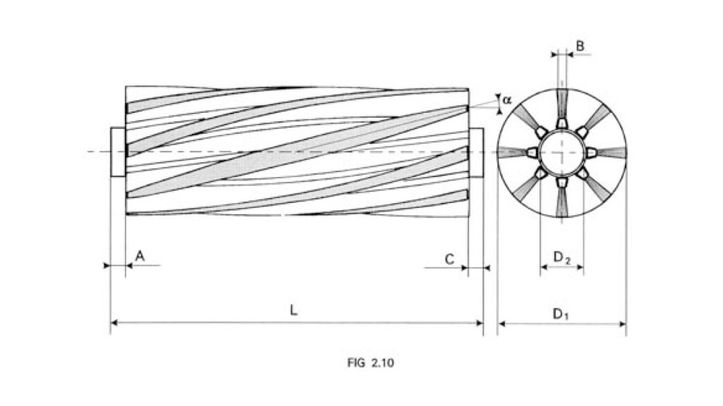
Generalità
Nei processi produttivi è molto frequente la necessità di eliminare la polvere e altri residui dalle superfici in lavorazione, in particolare quelle piane.
Le polveri, soprattutto quelle fini, possono aderire alla superficie sia meccanicamente che elettrostaticamente. Nel primo caso è sufficiente l’azione di una spazzola, mentre nel secondo occorre, in aggiunta, un sistema ionizzante, che elimina le cariche elettrostatiche. Abbiamo quindi sviluppato diversi tipi di depolveratori, adatti ad esigenze diverse, tutti con la possibilità di avvalersi degli ionizzatori della Haug, azienda tedesca leader nel campo dell’antistatica, di cui siamo rivenditori esclusivi per tutta l’Italia.
Tipologie di depolveratori industriali disponibili:
Vuoi richiedere un’offerta?
Sei interessato a ricevere maggiori informazioni e ad essere ricontattato da un nostro operatore specializzato?
Richiedi ora la tua offerta

Vuoi richiedere un’offerta?
Sei interessato a ricevere maggiori informazioni e ad essere ricontattato da un nostro operatore specializzato?
Richiedi ora la tua offerta













